Дата: 2015-04-13 ПОИСКИ БЕСКОНЕЧНОСТИ
Надеюсь, правильно поймете: «поиски бесконечно» – это не поиск
невообразимого, а последовательная работа инженеров фирмы, которая выбрала себя
это имя.
По нашим многолетним наблюдениям, Infinity из всех изготовителей динамиков ищет новые решения более
интенсивно, рьяно и плодотворно. В 1999 году впервые появились низкочастотные
головки Infinity, не
похожие на других, в то время они представляли собой «плоские и зеленые»
200-миллиметровые мидбасы Uniplane,
имеющие вывернутый наизнанку диффузор и глубину менее спички. Новейшая модель
2015 года Reference 1000s – саб 250 калибра классического цвета.

Это Reference 1000s в обычном ракурсе. Для чего обтравили прочее –
клеммы, магнит, корзину? Просто прочее не смогла попасть в кадр в таком
ракурсе.
Так выглядит 1000s под таким же углом, но с иного конца. Плоский, но не зеленый.
Для окончательного избавления от сомнений, взглянем в ребро. Тут все
написали, и главное – глубина посадки: немного больше 80 миллиметров от
фланцевой плоскости. С учетом того, что толщина передней стенки ящичка не
бывает меньше 20
миллиметров, это значит: чтобы не упираться в заднюю
стенку, хватит 65-миллиметровой глубины. Кстати, если вернуться к снимку
динамика «сзади», то можно заметить: отверстия вентиляционной системы располагаются
так, что тыл корзины может почти упираться в тыл ящичка, зазор обеспечивает
геометрия корзины. Тут заметно, что что-то не так с вентиляционной системой:
отверстие «продуха» в центре магнита заменено большим количеством маленьких
сверлений достаточно далеко от оси. Взглянет ближе…
«Иное» оказалось вот чем (как же изворачивался фотограф, чтобы
пробраться сюда): центрирующая шайба у Reference 1000s располагается вокруг
магнита, соединяясь с диффузором с помощью жестких стоек по периметру отверстия
изнутри. Возвратившись к снимку динамика «с лица», заметно: это диаметр
центрального колпака с жесткостными выштамповками. В итоге, диффузор выпуклый,
а катушка звучания попала в центр, где много места.

Достаточно высокий гофр подвеса благодаря тому, что его поперечное
сечение – около 0,6 окружности, а не полукруг. Гофр окружает довольно высокое
мягкое кольцо, что позволяет проводить монтаж головки наружу магнитом без
опаски, что гофр будет задевать за края отверстия посадки.
А почему в корзине накрутили непонятные контактные колодки и проложили
провода? Это результат еще одного поиска инженеров «Бесконечности». Это –
элемент SSI-системы,
которая предоставляет возможность выбора импеданса головки.

Посмотрите: выбор импеданса осуществляется из 2-х типовых значений: 2
или 4 Ом. Обыкновенный 2-обмоточный саб – это 2 или 8, или же 1 или 4. Как же
им это удалось?
С SSI-системой мы
встречались и столкнулись с таким же вопросом. По науке электроакустике
невозможно просто выключить 1 секцию катушки и ждать, что в итоге можно
получить динамик с иным импедансом. Выйдет иной динамик с повышенной
добротностью. Много раз пробовали и для чего же. Тут измеренные и заявляемые
значения добротности при различном положении переключателя вышли практически
одинаковыми. Тогда ответ был найден благодаря помощи консультанта из Harman
International.

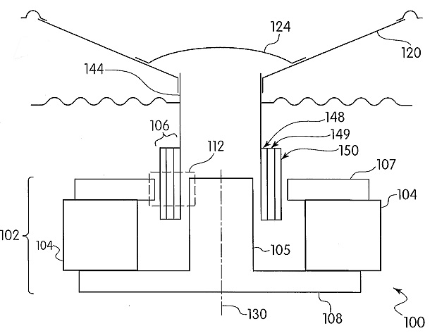
Это – 1-ая иллюстрация к патенту, который получен Джейсоном Вейнером при
исполнении служебных обязанностей в фирме Harman International Industries,
Incorporated. Умные уже догадываются… У катушки звучания 3 секции обмотки. Мы –
простые люди и дальше полезли взглянуть.
Кривая, как все иллюстрации к американским патентам, схема показывает: 2
катушечные секции либо все параллельно включаются, либо 2 последовательно, а
3-я – параллельно. Когда 3 секции по 6 Ом, это предоставит 2 Ом – в 1-ом случае
и 4 – во 2-ом. При этом из-за того, что вся медь расположена в магнитном
зазоре, не изменяется электрическая добротность.
В данном патенте сказано, что импеданс катушек для оптимизации
тепловыделения рекомендуется выбирать не одинаковым, пускай в итоге и выходит
не ровно 2 и 4, а только приблизительно. Номинал импеданса в таком случае в
1-ом положении – немного менее 2 Ом, в другом – немного более 4 Ом.
Параметры Тиля-Смолла. По измерениям и бумагам.
|
Параметр 2/4 Ом
|
Факт
|
Заявка
|
|
Частота резонанса Fs,
Гц
|
26,7/26,6
|
29,7/30,16
|
|
Полная добротность Qts
|
0,57/0,59
|
0,55/0,57
|
|
Фактор силы, Тл м
|
9,1/12,6
|
9/13
|
|
Сопротивление по постоянному току, Re, Ом
|
1,7/3,9
|
1,8/4,09
|
|
Объем эквивалента Vas,
л
|
37,4/37,6
|
34/33,5
|
|
Подвижная система массой, г
|
169/168
|
145/145
|
|
Чувствительность, дБ/Вт (1
м)
|
83/83
|
86/86
|
Американцами приведены все параметры для 2-х импедансных значений, в том
числе и значения, не зависящие от схемы включения катушки звучания. Резонансная
частота, к примеру. Мы выполнили также, чтобы подтвердить иллюстрации
характерных измерительных погрешностей и неизменности неизменного. В общем,
следует отметить, параметры, получаемые измерением, вышли недалекими от
получаемых переписыванием с мануала. Исключением является подвижная тяжелая
система и пониженная резонансная частота (несущественная гибкость подвеса).
Возможно моделирование.

Советы инженеров «Бесконечности» были достаточно банальными и не во всем
безупречные. ЗЯ имеет объем в 0,5 кубофута, округление традиционно. Предлагают
одновременно большой фазоинвертор, имеющий зубодробительную АЧХ. Для чего
плоская компактная головка, если ее посадят в 40-литровый ящичек? Бывает. К
примеру, плоский ящичек во весь багажный отдел.
Таковы изменения АЧХ (нужно ли сказать, что вне зависимости от
включаемого импеданса) при замене заявляемых параметров измеряемых. Обе похожи,
однако идут выше почти на 2 дБ. Фазоинверторная зубодробительность АЧХ
достигает границы поля графика. Несложно заметить, что взятое менее или более с
американского потолка на практике значение «полкубика» является нижним пределом
ЗЯ-объема, тут тесно динамику. Можно жить, но тесно.
Наши советы: вы уже увидели нижнюю границу, верхняя разумная – больше
почти в 1,5 раза, это ровная АЧХ от 40 Гц и меньше плюс уверенное усиление
акустики в данной полосе. ФИ, если так нравится такое оформление, берется
меньше и с пониженной настройкой. Однако идеален – 15-20-литровый ЗЯ.
И, конечно же, для плоских головок сложен вопрос с линейностью.
Результаты измерений: в зоне верхнего суббаса 1000s ведет себя достойно, однако
рановато устает снизу диапазона. На 50 Гц КНИ идет на 5-процентный уровень,
ниже данной частоты в искажениях преобладающая 3-я гармоника. Выше – все более
радужнее, и по спектру, и по уровню.
МЁД & ДЁГОТЬ
Плоская головка саба – это востребовано, хорошо, и это тренд. Прекрасно,
когда подобная головка нуждается в малом объеме оформления акустики. Тут все
нормально. Остроумная конструкция, а патентованная система импедансного выбора
– клад, любые другие решения – это выкручивание рук в сторону очень малых или
очень больших значений. К минусу нами был отнесен высокий коэффициент гармоник
на басу снизу. Он не растет активно, сохраняясь ниже 40-50 Гц на 1-ом уровне,
однако нам представляется данный уровень немного лишним. Можно с уверенностью
посоветовать саб для систем, где нужно рационально использовать место.
Посмотреть про все сабвуферы автомобильные Infinity.Информация взята: http://auto-magnitola.ru Отзывы покупателей про статью "Сабвуфер автомобильный Infinity Reference 1000s"
Благодарим Вас за желание добавить отзыв на автомагнитолу, акустику, сабвуфер, усилитель!
Ваш отзыв будет рассмотрен и добавлен в страничку с соответствующим ему товаром в течение 1-2 рабочих дней. Негативные отзывы рассматриваются также как и положительные. Главное чтобы была написана правда! Будут удалены отзывы с 10-ю грамматическими ошибками и содержащие ненормативную лексику.
Ваш отзыв на статью.
|
Сегодня на форуме
|